Skip to content
2025 ARRIVE & DRIVE DATES ARE HERE!.
BOOK NOW
Close
Call or Text:
(855) GO-MIATA
info@garage-56.com
Free Shipping Over $56*
Motorsports Program & Race Car Rentals
Search the store
Trending Now
NA Miata
NB Miata
NC MX-5
ND MX-5
Trending Now
NA Miata
NB Miata
NC MX-5
ND MX-5
0
0 items
Cart
Hello
Sign In
Home
NA Miata (90-97)
NB Miata (99-05)
NC MX-5 (06-15)
ND MX-5 (16+)
Mazda OEM Parts
Driver Gear & Equipment
Our Services & Maintenance
Race Car Rentals!
Spec Miata
Air & Fuel
Brakes
Drivetrain
Engine
Exhaust
Exterior
Interior
Suspension
Wheels & Tires
Clearance
Sale
Brakes
Brakes
Go to Brakes
Brake Calipers - OE
Brake Caliper Rebuild Kits
Brake Hardware
Brake Line Kits
Brake Master Cylinder
Brake Pads - OE
Brake Pads - Performance
Brake Rotors - Drilled
Brake Rotors - OE
Cooling
Cooling
Go to Cooling
Fans & Shrouds
Hoses
Oil Coolers
Radiators
Thermostats
Drivetrain
Drivetrain
Go to Drivetrain
Transmission
Drivetrain
Go to Transmission
Bearings
Clutch Discs
Clutch Kits - Single
Flywheels
Pressure Plates
Release Bearings
Tools
Differential Bushings
Engine
Engine
Go to Engine
Air Filters - Drop In
Air Filters - Universal Fit
Bearings
Clutch Lines
Cold Air Intakes
Differentials
Connecting Rods - 4Cyl
Crankshaft Dampers
Fuel Filters
Fuel Pumps
Fuel Rails
Hardware Kits - Other
Head Gaskets
Head Stud & Bolt Kits
Intake Manifolds
Main Stud & Bolt Kits
Oil Caps
Oil Catch Cans
Oil Filters
Phenolic Spacers
Rod Bolt Kits
Short Ram Air Intakes
Spark Plugs
Spark Plug Wire Sets
Stock Replacement Ignition
Throttle Bodies
Exhaust
Exhaust
Go to Exhaust
Axle Back
Catback
Catalytic Converter Direct Fit
Catalytic Converter Universal
Oxygen Sensors
Exterior
Exterior
Go to Exterior
Tail Lights
Interior
Interior
Go to Interior
Gauge Pods
Seat Brackets & Frames
Shift Knobs
Steering Wheel Hubs
Maintenance
Maintenance
Go to Maintenance
Air Filters - Drop In
Air Filters - Universal Fit
Fuel Filters
Oil Catch Cans
Oil Filters
Suspension
Suspension
Go to Suspension
Ball Joints
Bolts
Bushing Kits
Bushings - Full Vehicle Kits
Camber Kits
Coilovers
Control Arms
Lowering Springs
Shocks and Struts
Shock & Spring Kits
Shock Mounts & Camber Plates
Strut Bars
Suspension Packages
Sway Bars
Sway Bar Bushings
Sway Bar Endlinks
Tie Rods
Wheel Bearings
Wheel Hubs
Wheel Studs
Wheels & Tires
Wheels & Tires
Go to Wheels & Tires
Wheel Spacers & Adapters
Brakes
Brakes
Go to Brakes
Test
Test 2
Cooling System
1990 MIATA
1990 MIATA
Go to 1990 MIATA
BODY
1990 MIATA
Go to BODY
ACCESSORIES
BONNET
CAUTION PLATES & LABELS
DASH & COWL PANELS
FENDER & WHEEL APRON PANELS
FLOOR ATTACHMENTS
FLOOR ATTACHMENTS (HOLE COVERS)
FLOOR PANELS
FRONT BUMPER
FRONT COMBINATION LAMPS
FRONT DOOR MECHANISMS
FRONT DOORS
FRONT PANELS
HEAD LAMP RETRACTORS
HEAD LAMPS
KEY SETS
LICENSE LAMPS
REAR BUMPER
REAR COMBINATION LAMPS
REAR FINISHER
SIDE PANELS
SUNROOF
TRUNK LID
WINDOW GLASSES
WINDOW MOULDING & COWL GRILLES
CHASSIS, DRIVELINE & BRAKES
1990 MIATA
Go to CHASSIS, DRIVELINE & BRAKES
ACCELERATOR CONTROL SYSTEM
AUTOMATIC TRANSMISSION BRAKE PEDAL
BRAKE MASTER CYLINDER & POWER BRAKE
BRAKE PIPINGS
CROSSMEMBER & STABILIZER
ENGINE & T/MISSION MOUNTINGS
EXHAUST SYSTEM
FRONT AXLE
FRONT BRAKE MECHANISMS
FRONT SPRING & DAMPER
FRONT SUSPENSION MECHANISMS
FUEL PIPINGS
FUEL TANK
MANUAL TRANSMISSION CLUTCH & BRAKE PEDALS
MANUAL TRANSMISSION CLUTCH PIPINGS
MANUAL TRANSMISSION CLUTCH RELEASE & MASTER CYLINDERS
PARKING BRAKE SYSTEM
POWER STEERING SYSTEM
REAR AXLE
REAR BRAKE MECHANISMS
REAR DIFFERENTIALS (LIMITED SLIP DIFF.)
REAR DIFFERENTIALS (NORMAL DIFF.)
REAR DRIVE SHAFT
REAR LOWER ARMS & SUB FRAME
REAR PROPELLER SHAFT
REAR SPRING & DAMPER
REAR STABILIZER
STEERING COLUMN & SHAFTS
STEERING GEAR (W/ POWER STEERING)
STEERING GEAR (W/O POWER STEERING)
STEERING WHEEL
TIRES & JACK
DASHBOARD
1990 MIATA
Go to DASHBOARD
AIR CONDITIONER
AIR CONDITIONING COMPRESSOR COMPONENTS
AIR CONDITIONING COOLING PIPE O-RING
AIR CONDITIONING COOLING UNIT
COMBINATION SWITCH
DASHBOARD & RELATED PARTS
DASHBOARD EQUIPMENTS
DASHBOARD SWITCHES
HEATER
HEATER BLOWER COMPONENTS
HEATER CONTROL COMPONENTS
HEATER UNIT COMPONENTS
METER COMPONENTS
METER HOOD
SPEEDOMETER CABLE
VENTILATOR
ELECTRONICS
1990 MIATA
Go to ELECTRONICS
AUDIO SYSTEMS (ANTENNA & SPEAKER)
AUDIO SYSTEMS (RADIO & TAPE DECK)
AUTO CRUISE CONTROL SYSTEM
BODY RELAYS & UNIT
DASHBOARD WIRING HARNESSES
DOOR, FLOOR & CEILING WIRING HARNESSES
DOOR SWITCH & HORNS
ENGINE & TRANSMISSION WIRING HARNESSES
ENGINE SWITCHES & RELAYS
FRONT & REAR WIRING HARNESSES
WINDSHIELD WASHER
WINDSHIELD WIPERS
WIPER MOTOR COMPONENTS
ENGINE & TRANSMISSION
1990 MIATA
Go to ENGINE & TRANSMISSION
AIR CLEANER
ALTERNATOR
AUTOMATIC TRANSMISSION CASE & MAIN CONTROL SYSTEM
AUTOMATIC TRANSMISSION CLUTCHES & PLANETARY GEARS
AUTOMATIC TRANSMISSION CONTROL VALVE
AUTOMATIC TRANSMISSION GASKET & SEAL KIT
AUTOMATIC TRANSMISSION GOVERNOR, LOW & REVERSE PISTON
AUTOMATIC TRANSMISSION MANUAL LINKAGE SYSTEM
AUTOMATIC TRANSMISSION TORQUE CONVERTER, OIL PUMP & PIPINGS
BATTERY
BRACKET, PULLEY & BELT
CAP & HOSE CLIP (INLET & EXHAUST SIDE)
CHANGE CONTROL SYSTEM (AT)
CLUTCH DISC & COVER
COOLING SYSTEM
CYLINDER BLOCK
CYLINDER HEAD & COVER
EMISSION CONTROL SYSTEM (INLET SIDE)
ENGINE & GASKET SETS
ENGINE ELECTRICAL SYSTEM
EXHAUST MANIFOLD
FUEL DISTRIBUTOR
FUEL SYSTEM
INLET MANIFOLD
MANUAL TRANSMISSION CASE
MANUAL TRANSMISSION CHANGE CONTROL SYSTEM
MANUAL TRANSMISSION GEARS
OIL PAN & TIMING COVER
OIL PUMP & FILTER
PISTON CRANKSHAFT & FLYWHEEL
STARTER
THROTTLE BODY
VALVE SYSTEM
INTERIOR
1990 MIATA
Go to INTERIOR
CONSOLE
FLOOR MATS & PADS
FRONT DOOR TRIMS & RELATED PARTS
FRONT HEADER TRIM & PILLAR TRIMS
QUARTER WINDOW & TRIMS
SEAT BELTS
SEATS
SERVICE TOOLS
SUN VISORS, ASSIST HANDLES & MIRRORS
TRIMS & SCUFF PLATES
1991 MIATA
1991 MIATA
Go to 1991 MIATA
BODY
1991 MIATA
Go to BODY
BONNET
CAUTION PLATES & LABELS
DASH & COWL PANELS
FENDER & WHEEL APRON PANELS
FLOOR ATTACHMENTS
FLOOR ATTACHMENTS (HOLE COVERS)
FLOOR PANELS
FRONT BUMPER
FRONT COMBINATION LAMPS
FRONT DOOR MECHANISMS
FRONT DOORS
FRONT PANELS
HEAD LAMP RETRACTORS
HEAD LAMPS
KEY SETS
LICENSE LAMPS
REAR BUMPER
REAR COMBINATION LAMPS
REAR FINISHER
SIDE PANELS
SUNROOF
TRUNK LID
WINDOW GLASSES
WINDOW MOULDING & COWL GRILLES
CHASSIS, DRIVELINE & BRAKES
1991 MIATA
Go to CHASSIS, DRIVELINE & BRAKES
ACCELERATOR CONTROL SYSTEM
AUTOMATIC TRANSMISSION BRAKE PEDAL
BRAKE MASTER CYLINDER & POWER BRAKE
BRAKE PIPINGS
CROSSMEMBER & STABILIZER
ENGINE & T/MISSION MOUNTINGS
EXHAUST SYSTEM
FRONT AXLE
FRONT BRAKE MECHANISMS
FRONT SPRING & DAMPER
FRONT SUSPENSION MECHANISMS
FUEL PIPINGS
FUEL TANK
MANUAL TRANSMISSION CLUTCH & BRAKE PEDALS
MANUAL TRANSMISSION CLUTCH PIPINGS
MANUAL TRANSMISSION CLUTCH RELEASE & MASTER CYLINDERS
PARKING BRAKE SYSTEM
POWER STEERING SYSTEM
REAR AXLE
REAR BRAKE MECHANISMS
REAR DIFFERENTIALS (LIMITED SLIP DIFF.)
REAR DIFFERENTIALS (NORMAL DIFF.)
REAR DRIVE SHAFT
REAR LOWER ARMS & SUB FRAME
REAR PROPELLER SHAFT
REAR SPRING & DAMPER
REAR STABILIZER
STEERING COLUMN & SHAFTS
STEERING GEAR (W/ POWER STEERING)
STEERING GEAR (W/O POWER STEERING)
STEERING WHEEL
TIRES & JACK
DASHBOARD
1991 MIATA
Go to DASHBOARD
AIR CONDITIONER
AIR CONDITIONING COMPRESSOR COMPONENTS
AIR CONDITIONING COOLING PIPE O-RING
AIR CONDITIONING COOLING UNIT
COMBINATION SWITCH
DASHBOARD & RELATED PARTS
DASHBOARD EQUIPMENTS
DASHBOARD SWITCHES
HEATER
HEATER BLOWER COMPONENTS
HEATER CONTROL COMPONENTS
HEATER UNIT COMPONENTS
METER COMPONENTS
METER HOOD
SPEEDOMETER CABLE
VENTILATOR
ELECTRONICS
1991 MIATA
Go to ELECTRONICS
AUDIO SYSTEMS (ANTENNA & SPEAKER)
AUDIO SYSTEMS (RADIO & TAPE DECK)
AUTO CRUISE CONTROL SYSTEM
BODY RELAYS & UNIT
DASHBOARD WIRING HARNESSES
DOOR, FLOOR & CEILING WIRING HARNESSES
DOOR SWITCH & HORNS
ENGINE & TRANSMISSION WIRING HARNESSES
ENGINE SWITCHES & RELAYS
FRONT & REAR WIRING HARNESSES
WINDSHIELD WASHER
WINDSHIELD WIPERS
WIPER MOTOR COMPONENTS
ENGINE & TRANSMISSION
1991 MIATA
Go to ENGINE & TRANSMISSION
AIR CLEANER
ALTERNATOR
AUTOMATIC TRANSMISSION CASE & MAIN CONTROL SYSTEM
AUTOMATIC TRANSMISSION CLUTCHES & PLANETARY GEARS
AUTOMATIC TRANSMISSION CONTROL VALVE
AUTOMATIC TRANSMISSION GASKET & SEAL KIT
AUTOMATIC TRANSMISSION GOVERNOR LOW & REVERSE PISTON
AUTOMATIC TRANSMISSION MANUAL LINKAGE SYSTEM
AUTOMATIC TRANSMISSION TORQUE CONVERTER OIL PUMP & PIPINGS
BATTERY
BRACKET, PULLEY & BELT
CHANGE CONTROL SYSTEM (AT)
CLUTCH DISC & COVER
COOLING SYSTEM
CYLINDER BLOCK
CYLINDER HEAD & COVER
EMISSION CONTROL SYSTEM (INLET SIDE)
ENGINE & GASKET SETS
ENGINE ELECTRICAL SYSTEM
EXHAUST MANIFOLD
FUEL DISTRIBUTOR
FUEL SYSTEM
INLET MANIFOLD
MANUAL TRANSMISSION CASE
MANUAL TRANSMISSION CHANGE CONTROL SYSTEM
MANUAL TRANSMISSION GEARS
OIL PAN & TIMING COVER
OIL PUMP & FILTER
PISTON CRANKSHAFT & FLYWHEEL
STARTER
THROTTLE BODY
VALVE SYSTEM
INTERIOR
1991 MIATA
Go to INTERIOR
CONSOLE
FLOOR MATS & PADS
FRONT DOOR TRIMS & RELATED PARTS
FRONT HEADER TRIM & PILLAR TRIMS
QUARTER WINDOW & TRIMS
SEAT BELTS
SEATS
SERVICE TOOLS
SUN VISORS, ASSIST HANDLES & MIRRORS
TRIMS & SCUFF PLATES
1992 MIATA
1992 MIATA
Go to 1992 MIATA
BODY
1992 MIATA
Go to BODY
BONNET
CAUTION PLATES & LABELS
DASH & COWL PANELS
FENDER & WHEEL APRON PANELS
FLOOR ATTACHMENTS
FLOOR ATTACHMENTS (HOLE COVERS)
FLOOR PANELS
FRONT BUMPER
FRONT COMBINATION LAMPS
FRONT DOOR MECHANISMS
FRONT DOORS
FRONT PANELS
HEAD LAMP RETRACTORS
HEAD LAMPS
KEY SETS
LICENSE LAMPS
REAR BUMPER
REAR COMBINATION LAMPS
REAR FINISHER
SIDE PANELS
SUNROOF
TRUNK LID
WINDOW GLASSES
WINDOW MOULDING & COWL GRILLES
CHASSIS, DRIVELINE & BRAKES
1992 MIATA
Go to CHASSIS, DRIVELINE & BRAKES
ACCELERATOR CONTROL SYSTEM
AUTOMATIC TRANSMISSION BRAKE PEDAL
BRAKE MASTER CYLINDER & POWER BRAKE
BRAKE PIPINGS
CROSSMEMBER & STABILIZER
ENGINE & T/MISSION MOUNTINGS
EXHAUST SYSTEM
FRONT AXLE
FRONT BRAKE MECHANISMS
FRONT SPRING & DAMPER
FRONT SUSPENSION MECHANISMS
FUEL PIPINGS
FUEL TANK
MANUAL TRANSMISSION CLUTCH & BRAKE PEDALS
MANUAL TRANSMISSION CLUTCH PIPINGS
MANUAL TRANSMISSION CLUTCH RELEASE & MASTER CYLINDERS
PARKING BRAKE SYSTEM
POWER STEERING SYSTEM
REAR AXLE
REAR BRAKE MECHANISMS
REAR DIFFERENTIALS (LIMITED SLIP DIFF.)
REAR DIFFERENTIALS (NORMAL DIFF.)
REAR DRIVE SHAFT
REAR LOWER ARMS & SUB FRAME
REAR PROPELLER SHAFT
REAR SPRING & DAMPER
REAR STABILIZER
STEERING COLUMN & SHAFTS
STEERING GEAR (W/ POWER STEERING)
STEERING GEAR (W/O POWER STEERING)
STEERING WHEEL
TIRES & JACK
DASHBOARD
1992 MIATA
Go to DASHBOARD
AIR CONDITIONER
AIR CONDITIONING COMPRESSOR COMPONENTS
AIR CONDITIONING COOLING PIPE O-RING
AIR CONDITIONING COOLING UNIT
COMBINATION SWITCH
DASHBOARD & RELATED PARTS
DASHBOARD EQUIPMENTS
DASHBOARD SWITCHES
HEATER
HEATER BLOWER COMPONENTS
HEATER CONTROL COMPONENTS
HEATER UNIT COMPONENTS
METER COMPONENTS
METER HOOD
SPEEDOMETER CABLE
VENTILATOR
ELECTRONICS
1992 MIATA
Go to ELECTRONICS
AUDIO SYSTEMS (ANTENNA & SPEAKER)
AUDIO SYSTEMS (RADIO & TAPE DECK)
AUTO CRUISE CONTROL SYSTEM
BODY RELAYS & UNIT
DASHBOARD WIRING HARNESSES
DOOR, FLOOR & CEILING WIRING HARNESSES
DOOR SWITCH & HORNS
ENGINE & TRANSMISSION WIRING HARNESSES
ENGINE SWITCHES & RELAYS
FRONT & REAR WIRING HARNESSES
WINDSHIELD WASHER
WINDSHIELD WIPERS
WIPER MOTOR COMPONENTS
ENGINE & TRANSMISSION
1992 MIATA
Go to ENGINE & TRANSMISSION
AIR CLEANER
ALTERNATOR
AUTOMATIC TRANSMISSION CASE & MAIN CONTROL SYSTEM
AUTOMATIC TRANSMISSION CLUTCHES & PLANETARY GEARS
AUTOMATIC TRANSMISSION CONTROL VALVE
AUTOMATIC TRANSMISSION GASKET & SEAL KIT
AUTOMATIC TRANSMISSION GOVERNOR LOW & REVERSE PISTON
AUTOMATIC TRANSMISSION MANUAL LINKAGE SYSTEM
AUTOMATIC TRANSMISSION TORQUE CONVERTER OIL PUMP & PIPINGS
BATTERY
BRACKET, PULLEY & BELT
CHANGE CONTROL SYSTEM (AT)
CLUTCH DISC & COVER
COOLING SYSTEM
CYLINDER BLOCK
CYLINDER HEAD & COVER
EMISSION CONTROL SYSTEM (INLET SIDE)
ENGINE & GASKET SETS
ENGINE ELECTRICAL SYSTEM
EXHAUST MANIFOLD
FUEL DISTRIBUTOR
FUEL SYSTEM
INLET MANIFOLD
MANUAL TRANSMISSION CASE
MANUAL TRANSMISSION CHANGE CONTROL SYSTEM
MANUAL TRANSMISSION GEARS
OIL PAN & TIMING COVER
OIL PUMP & FILTER
PISTON CRANKSHAFT & FLYWHEEL
STARTER
THROTTLE BODY
VALVE SYSTEM
INTERIOR
1992 MIATA
Go to INTERIOR
CONSOLE
FLOOR MATS & PADS
FRONT DOOR TRIMS & RELATED PARTS
FRONT HEADER TRIM & PILLAR TRIMS
QUARTER WINDOW & TRIMS
SEAT BELTS
SEATS
SERVICE TOOLS
SUN VISORS, ASSIST HANDLES & MIRRORS
TRIMS & SCUFF PLATES
1993 MIATA
1993 MIATA
Go to 1993 MIATA
BODY
1993 MIATA
Go to BODY
BONNET
CAUTION PLATES & LABELS
DASH & COWL PANELS
FENDER & WHEEL APRON PANELS
FLOOR ATTACHMENTS
FLOOR ATTACHMENTS (HOLE COVERS)
FLOOR PANELS
FRONT BUMPER
FRONT COMBINATION LAMPS
FRONT DOOR MECHANISMS
FRONT DOORS
FRONT PANELS
HEAD LAMP RETRACTORS
HEAD LAMPS
KEY SETS
LICENSE LAMPS
ORNAMENTS
REAR BUMPER
REAR COMBINATION LAMPS
REAR FINISHER
SIDE PANELS
SUNROOF
TRUNK LID
WINDOW GLASSES
WINDOW MOULDING & COWL GRILLES
CHASSIS, DRIVELINE & BRAKES
1993 MIATA
Go to CHASSIS, DRIVELINE & BRAKES
ACCELERATOR CONTROL SYSTEM
ANTI LOCK BRAKE SYSTEM
AUTOMATIC TRANSMISSION BRAKE PEDAL
BRAKE MASTER CYLINDER & POWER BRAKE (ANTI LOCK BRAKE SYSTEM)
BRAKE MASTER CYLINDER & POWER BRAKE (W/O ANTI LOCK BRAKE SYSTEM)
BRAKE PIPINGS (ANTI LOCK BRAKE SYSTEM)
BRAKE PIPINGS (W/O ANTI LOCK BRAKE SYSTEM)
CROSSMEMBER & STABILIZER
ENGINE & T/MISSION MOUNTINGS
EXHAUST SYSTEM
FRONT AXLE (ANTI LOCK BRAKE SYSTEM)
FRONT AXLE (W/O ANTI LOCK BRAKE SYSTEM)
FRONT BRAKE MECHANISMS
FRONT SPRING & DAMPER
FRONT SUSPENSION MECHANISMS
FUEL LID OPENER
FUEL PIPINGS
FUEL TANK
MANUAL TRANSMISSION CLUTCH & BRAKE PEDALS
MANUAL TRANSMISSION CLUTCH PIPINGS
MANUAL TRANSMISSION CLUTCH RELEASE & MASTER CYLINDERS
PARKING BRAKE SYSTEM
POWER STEERING SYSTEM
REAR AXLE
REAR BRAKE MECHANISMS
REAR DIFFERENTIALS (LIMITED SLIP DIFF.)
REAR DIFFERENTIALS (NORMAL DIFF.)
REAR DRIVE SHAFT
REAR LOWER ARMS & SUB FRAME
REAR PROPELLER SHAFT
REAR SPRING & DAMPER
REAR STABILIZER
REAR SUSPENSION MECHANISMS
STEERING COLUMN & SHAFTS
STEERING GEAR (W/ POWER STEERING)
STEERING GEAR (W/O POWER STEERING)
STEERING WHEEL
TIRES & JACK
DASHBOARD
1993 MIATA
Go to DASHBOARD
AIR CONDITIONER
AIR CONDITIONING COMPRESSOR COMPONENTS
AIR CONDITIONING COOLING PIPE O-RING
AIR CONDITIONING COOLING UNIT
COMBINATION SWITCH
DASHBOARD & RELATED PARTS
DASHBOARD EQUIPMENTS
DASHBOARD SWITCHES
HEATER
HEATER BLOWER COMPONENTS
HEATER CONTROL COMPONENTS
HEATER UNIT COMPONENTS
METER COMPONENTS
METER HOOD
SPEEDOMETER CABLE
VENTILATOR
ELECTRONICS
1993 MIATA
Go to ELECTRONICS
AUDIO SYSTEMS (ANTENNA & SPEAKER)
AUDIO SYSTEMS (RADIO & TAPE DECK)
AUTO CRUISE CONTROL SYSTEM
BODY RELAYS & UNIT
DASHBOARD WIRING HARNESSES
DOOR, FLOOR & CEILING WIRING HARNESSES
DOOR SWITCH & HORNS
ENGINE & TRANSMISSION WIRING HARNESSES
ENGINE SWITCHES & RELAYS
FRONT & REAR WIRING HARNESSES
WINDSHIELD WASHER
WINDSHIELD WIPERS
WIPER MOTOR COMPONENTS
WIRING HARNESS CLAMPS
ENGINE & TRANSMISSION
1993 MIATA
Go to ENGINE & TRANSMISSION
AIR CLEANER
ALTERNATOR
AUTOMATIC TRANSMISSION CASE & MAIN CONTROL SYSTEM
AUTOMATIC TRANSMISSION CLUTCHES & PLANETARY GEARS
AUTOMATIC TRANSMISSION CONTROL VALVE
AUTOMATIC TRANSMISSION GASKET & SEAL KIT
AUTOMATIC TRANSMISSION GOVERNOR LOW & REVERSE PISTON
AUTOMATIC TRANSMISSION MANUAL LINKAGE SYSTEM
AUTOMATIC TRANSMISSION TORQUE CONVERTER OIL PUMP & PIPINGS
BATTERY
BRACKET, PULLEY & BELT
CHANGE CONTROL SYSTEM (AT)
CLUTCH DISC & COVER
COOLING SYSTEM
CYLINDER BLOCK
CYLINDER HEAD & COVER
EMISSION CONTROL SYSTEM (INLET SIDE)
ENGINE & GASKET SETS
ENGINE ELECTRICAL SYSTEM
EXHAUST MANIFOLD
FUEL DISTRIBUTOR
FUEL SYSTEM
INLET MANIFOLD
MANUAL TRANSMISSION CASE
MANUAL TRANSMISSION CHANGE CONTROL SYSTEM
MANUAL TRANSMISSION GEARS
OIL PAN & TIMING COVER
OIL PUMP & FILTER
PISTON CRANKSHAFT & FLYWHEEL
STARTER
THROTTLE BODY
VALVE SYSTEM
INTERIOR
1993 MIATA
Go to INTERIOR
AIR BAG
CONSOLE
FLOOR MATS & PADS
FRONT DOOR TRIMS & RELATED PARTS
FRONT HEADER TRIM & PILLAR TRIMS
QUARTER WINDOW & TRIMS
SEAT BELTS
SEATS
SERVICE TOOLS
SUN VISORS, ASSIST HANDLES & MIRRORS
TRIMS & SCUFF PLATES
1994 MIATA
1994 MIATA
Go to 1994 MIATA
BODY
1994 MIATA
Go to BODY
BONNET
CAUTION PLATES & LABELS
DASH & COWL PANELS
FENDER & WHEEL APRON PANELS
FLOOR ATTACHMENTS
FLOOR ATTACHMENTS (HOLE COVERS)
FLOOR PANELS
FRONT BUMPER
FRONT COMBINATION LAMPS
FRONT DOOR MECHANISMS
FRONT DOORS
FRONT PANELS
HEAD LAMP RETRACTORS
HEAD LAMPS
KEY SETS
LICENSE LAMPS
ORNAMENTS
REAR BUMPER
REAR COMBINATION LAMPS
REAR FINISHER
SIDE PANELS
SUNROOF
TRUNK LID
WINDOW GLASSES
WINDOW MOULDING & COWL GRILLES
CHASSIS, DRIVELINE & BRAKES
1994 MIATA
Go to CHASSIS, DRIVELINE & BRAKES
ACCELERATOR CONTROL SYSTEM
ANTI LOCK BRAKE SYSTEM
AUTOMATIC TRANSMISSION BRAKE PEDAL
BRAKE MASTER CYLINDER & POWER BRAKE (ANTI LOCK BRAKE SYSTEM)
BRAKE MASTER CYLINDER & POWER BRAKE (W/O ANTI LOCK BRAKE SYSTEM)
BRAKE PIPINGS (ANTI LOCK BRAKE SYSTEM)
BRAKE PIPINGS (W/O ANTI LOCK BRAKE SYSTEM)
CROSSMEMBER & STABILIZER
ENGINE & T/MISSION MOUNTINGS
EXHAUST SYSTEM
FRONT AXLE (ANTI LOCK BRAKE SYSTEM)
FRONT AXLE (W/O ANTI LOCK BRAKE SYSTEM)
FRONT BRAKE MECHANISMS
FRONT SPRING & DAMPER
FRONT SUSPENSION MECHANISMS
FUEL LID OPENER
FUEL PIPINGS
FUEL TANK
MANUAL TRANSMISSION CLUTCH & BRAKE PEDALS
MANUAL TRANSMISSION CLUTCH PIPINGS
MANUAL TRANSMISSION CLUTCH RELEASE & MASTER CYLINDERS
PARKING BRAKE SYSTEM
POWER STEERING SYSTEM
REAR AXLE
REAR BRAKE MECHANISMS
REAR DIFFERENTIALS (LIMITED SLIP DIFF.)
REAR DIFFERENTIALS (NORMAL DIFF.)
REAR DRIVE SHAFT
REAR LOWER ARMS & SUB FRAME
REAR PROPELLER SHAFT
REAR SPRING & DAMPER
REAR STABILIZER
REAR SUSPENSION MECHANISMS
STEERING COLUMN & SHAFTS
STEERING GEAR (W/ POWER STEERING)
STEERING GEAR (W/O POWER STEERING)
STEERING WHEEL
TIRES & JACK
DASHBOARD
1994 MIATA
Go to DASHBOARD
AIR CONDITIONER
AIR CONDITIONING COMPRESSOR COMPONENTS
AIR CONDITIONING COOLING UNIT
COMBINATION SWITCH
DASHBOARD & RELATED PARTS
DASHBOARD EQUIPMENTS
DASHBOARD SWITCHES
HEATER
HEATER BLOWER COMPONENTS
HEATER CONTROL COMPONENTS
HEATER UNIT COMPONENTS
METER COMPONENTS
METER HOOD
SPEEDOMETER CABLE
VENTILATOR
ELECTRONICS
1994 MIATA
Go to ELECTRONICS
AUDIO SYSTEMS (ANTENNA & SPEAKER)
AUDIO SYSTEMS (RADIO & TAPE DECK)
AUTO CRUISE CONTROL SYSTEM
BODY RELAYS & UNIT
DASHBOARD WIRING HARNESSES
DOOR, FLOOR & CEILING WIRING HARNESSES
DOOR SWITCH & HORNS
ENGINE & TRANSMISSION WIRING HARNESSES
ENGINE SWITCHES & RELAYS
FRONT & REAR WIRING HARNESSES
WINDSHIELD WASHER (ANTI LOCK BRAKE SYSTEM)
WINDSHIELD WASHER (W/O ANTI LOCK BRAKE SYSTEM)
WINDSHIELD WIPERS
WIPER MOTOR COMPONENTS
WIRING HARNESS CLAMPS
ENGINE & TRANSMISSION
1994 MIATA
Go to ENGINE & TRANSMISSION
AIR CLEANER
ALTERNATOR
AUTOMATIC TRANSMISSION CASE & MAIN CONTROL SYSTEM
AUTOMATIC TRANSMISSION CLUTCHES & PLANETARY GEARS
AUTOMATIC TRANSMISSION CONTROL VALVE
AUTOMATIC TRANSMISSION GASKET & SEAL KIT
AUTOMATIC TRANSMISSION GOVERNOR LOW & REVERSE PISTON
AUTOMATIC TRANSMISSION MANUAL LINKAGE SYSTEM
AUTOMATIC TRANSMISSION TORQUE CONVERTER OIL PUMP & PIPINGS
BATTERY
BRACKET, PULLEY & BELT
CHANGE CONTROL SYSTEM (AT)
CLUTCH DISC & COVER
COOLING SYSTEM
CYLINDER BLOCK
CYLINDER HEAD & COVER
EMISSION CONTROL SYSTEM (INLET SIDE)
ENGINE & GASKET SETS
ENGINE ELECTRICAL SYSTEM
EXHAUST MANIFOLD
FUEL DISTRIBUTOR
FUEL SYSTEM
INLET MANIFOLD
MANUAL TRANSMISSION CASE
MANUAL TRANSMISSION CHANGE CONTROL SYSTEM
MANUAL TRANSMISSION GEARS
OIL PAN & TIMING COVER
OIL PUMP & FILTER
PISTON CRANKSHAFT & FLYWHEEL
STARTER (AT)
STARTER (MT)
THROTTLE BODY
VALVE SYSTEM
INTERIOR
1994 MIATA
Go to INTERIOR
AIR BAG
CONSOLE
FLOOR MATS & PADS
FRONT DOOR TRIMS & RELATED PARTS
FRONT HEADER TRIM & PILLAR TRIMS
QUARTER WINDOW & TRIMS
SEAT BELTS
SEATS
SERVICE TOOLS
SUN VISORS, ASSIST HANDLES & MIRRORS
TRIMS & SCUFF PLATES
1995 MIATA
1995 MIATA
Go to 1995 MIATA
BODY
1995 MIATA
Go to BODY
BONNET
CAUTION PLATES & LABELS
DASH & COWL PANELS
FENDER & WHEEL APRON PANELS
FLOOR ATTACHMENTS
FLOOR ATTACHMENTS (HOLE COVERS)
FLOOR PANELS
FRONT BUMPER
FRONT COMBINATION LAMPS
FRONT DOOR MECHANISMS
FRONT DOORS
FRONT PANELS
HEAD LAMP RETRACTORS
HEAD LAMPS
KEY SETS
LICENSE LAMPS
ORNAMENTS
REAR BUMPER
REAR COMBINATION LAMPS
REAR FINISHER
SIDE PANELS
SUNROOF
TRUNK LID
WINDOW GLASSES
WINDOW MOULDING & COWL GRILLES
CHASSIS, DRIVELINE & BRAKES
1995 MIATA
Go to CHASSIS, DRIVELINE & BRAKES
ACCELERATOR CONTROL SYSTEM
ANTI LOCK BRAKE SYSTEM
AUTOMATIC TRANSMISSION BRAKE PEDAL
BRAKE MASTER CYLINDER & POWER BRAKE (W/ ANTI LOCK BRAKE SYSTEM)
BRAKE MASTER CYLINDER & POWER BRAKE (W/O ANTILOCK BRAKE)
BRAKE PIPINGS (ANTI LOCK BRAKE SYSTEM)
BRAKE PIPINGS (W/O ANTI LOCK BRAKE SYSTEM)
CROSSMEMBER & STABILIZER
ENGINE & T/MISSION MOUNTINGS
EXHAUST SYSTEM
FRONT AXLE (W/ANTILOCK BRAKE)
FRONT AXLE (W/O ANTILOCK BRAKE)
FRONT BRAKE MECHANISMS
FRONT SUSPENSION MECHANISMS
FUEL LID OPENER
FUEL PIPINGS
FUEL TANK
MANUAL TRANSMISSION CLUTCH & BRAKE PEDALS
MANUAL TRANSMISSION CLUTCH PIPINGS
MANUAL TRANSMISSION CLUTCH RELEASE & MASTER CYLINDERS
PARKING BRAKE SYSTEM
POWER STEERING SYSTEM
REAR AXLE
REAR BRAKE MECHANISMS
REAR DIFFERENTIALS (LIMITED SLIP DIFF.)
REAR DIFFERENTIALS (NORMAL DIFF.)
REAR DRIVE SHAFT
REAR LOWER ARMS & SUB FRAME
REAR PROPELLER SHAFT
REAR STABILIZER
REAR SUSPENSION MECHANISMS
STEERING COLUMN & SHAFTS
STEERING GEAR (W/O POWER STEERING)
STEERING GEAR (W/ POWER STEERING)
STEERING WHEEL
TIRES & JACK
DASHBOARD
1995 MIATA
Go to DASHBOARD
AIR CONDITIONER
AIR CONDITIONING COMPRESSOR COMPONENTS
AIR CONDITIONING COOLING PIPE O-RING
AIR CONDITIONING COOLING UNIT
COMBINATION SWITCH
DASHBOARD & RELATED PARTS
DASHBOARD EQUIPMENTS
DASHBOARD SWITCHES
HEATER
HEATER BLOWER COMPONENTS
HEATER CONTROL COMPONENTS
HEATER UNIT COMPONENTS
METER COMPONENTS
METER HOOD
SPEEDOMETER CABLE
VENTILATOR
ELECTRONICS
1995 MIATA
Go to ELECTRONICS
AUDIO SYSTEMS (ANTENNA & SPEAKER) [1995 Miata]
AUDIO SYSTEMS (RADIO & TAPE DECK)
AUTO CRUISE CONTROL SYSTEM
BODY RELAYS & UNIT
DASHBOARD WIRING HARNESSES
DOOR, FLOOR & CEILING WIRING HARNESSES
DOOR SWITCH & HORNS
ENGINE & TRANSMISSION WIRING HARNESSES
ENGINE SWITCHES & RELAYS
FRONT & REAR WIRING HARNESSES
WINDSHIELD WASHER (W/O ANTILOCK BRAKE)
WINDSHIELD WASHER (W/O ANTILOCK BRAKE)
WINDSHIELD WIPERS
WIPER MOTOR COMPONENTS
WIRING HARNESS CLAMPS
ENGINE & TRANSMISSION
1995 MIATA
Go to ENGINE & TRANSMISSION
AIR CLEANER
ALTERNATOR
AUTOMATIC TRANSMISSION CASE & MAIN CONTROL SYSTEM
AUTOMATIC TRANSMISSION CLUTCHES & PLANETARY GEARS
AUTOMATIC TRANSMISSION CONTROL VALVE
AUTOMATIC TRANSMISSION GASKET & SEAL KIT
AUTOMATIC TRANSMISSION GOVERNOR LOW & REVERSE PISTON
AUTOMATIC TRANSMISSION MANUAL LINKAGE SYSTEM
AUTOMATIC TRANSMISSION TORQUE CONVERTER OIL PUMP & PIPINGS
BATTERY
BRACKET, PULLEY & BELT
CHANGE CONTROL SYSTEM (AT)
CLUTCH DISC & COVER
COOLING SYSTEM
CYLINDER BLOCK
CYLINDER HEAD & COVER
EMISSION CONTROL SYSTEM (INLET SIDE)
ENGINE & GASKET SETS
ENGINE ELECTRICAL SYSTEM
EXHAUST MANIFOLD
FUEL DISTRIBUTOR
FUEL SYSTEM
INLET MANIFOLD
MANUAL TRANSMISSION CASE
MANUAL TRANSMISSION CHANGE CONTROL SYSTEM
MANUAL TRANSMISSION GEARS
OIL PAN & TIMING COVER
OIL PUMP & FILTER
PISTON CRANKSHAFT & FLYWHEEL
STARTER (AT)
STARTER (MT)
THROTTLE BODY
VALVE SYSTEM
INTERIOR
1995 MIATA
Go to INTERIOR
AIR BAG
CONSOLE
FLOOR MATS & PADS
FRONT DOOR TRIMS & RELATED PARTS
FRONT HEADER TRIM & PILLAR TRIMS
QUARTER WINDOW & TRIMS
SEAT BELTS
SEATS
SERVICE TOOLS
SUN VISORS, ASSIST HANDLES & MIRRORS
TRIMS & SCUFF PLATES
1996 MIATA
1996 MIATA
Go to 1996 MIATA
BODY
1996 MIATA
Go to BODY
BONNET
CAUTION PLATES & LABELS
DASH & COWL PANELS
FENDER & WHEEL APRON PANELS
FLOOR ATTACHMENTS
FLOOR ATTACHMENTS (HOLE COVERS)
FLOOR PANELS
FRONT BUMPER
FRONT COMBINATION LAMPS
FRONT DOOR MECHANISMS
FRONT DOORS
FRONT PANELS
HEAD LAMP RETRACTORS
HEAD LAMPS
KEY SETS
LICENSE LAMPS
ORNAMENTS
REAR BUMPER
REAR COMBINATION LAMPS
REAR FINISHER
SIDE PANELS
SUNROOF
TRUNK LID
WINDOW GLASSES
WINDOW MOULDING & COWL GRILLES
CHASSIS, DRIVELINE & BRAKES
1996 MIATA
Go to CHASSIS, DRIVELINE & BRAKES
ACCELERATOR CONTROL SYSTEM
ANTI LOCK BRAKE SYSTEM
AUTOMATIC TRANSMISSION BRAKE PEDAL
BRAKE MASTER CYLINDER & POWER BRAKE (W/ ANTI LOCK BRAKE SYSTEM)
BRAKE MASTER CYLINDER & POWER BRAKE (W/O ANTILOCK BRAKE)
BRAKE PIPINGS (ANTI LOCK BRAKE SYSTEM)
BRAKE PIPINGS (W/O ANTI LOCK BRAKE SYSTEM)
CROSSMEMBER & STABILIZER
ENGINE & T/MISSION MOUNTINGS
EXHAUST SYSTEM
FRONT AXLE (W/ANTILOCK BRAKE)
FRONT AXLE (W/O ANTILOCK BRAKE)
FRONT BRAKE MECHANISMS
FRONT SUSPENSION MECHANISMS
FUEL LID OPENER
FUEL PIPINGS
FUEL TANK
MANUAL TRANSMISSION CLUTCH & BRAKE PEDALS
MANUAL TRANSMISSION CLUTCH PIPINGS
MANUAL TRANSMISSION CLUTCH RELEASE & MASTER CYLINDERS
PARKING BRAKE SYSTEM
POWER STEERING SYSTEM
REAR AXLE
REAR BRAKE MECHANISMS
REAR DIFFERENTIALS (LIMITED SLIP DIFF.)
REAR DIFFERENTIALS (NORMAL DIFF.)
REAR DRIVE SHAFT
REAR LOWER ARMS & SUB FRAME
REAR PROPELLER SHAFT
REAR STABILIZER
REAR SUSPENSION MECHANISMS
STEERING COLUMN & SHAFTS
STEERING GEAR (W/O POWER STEERING)
STEERING GEAR (W/ POWER STEERING)
STEERING WHEEL
TIRES & JACK
DASHBOARD
1996 MIATA
Go to DASHBOARD
AIR CONDITIONER
AIR CONDITIONING COMPRESSOR COMPONENTS
AIR CONDITIONING COOLING PIPE O-RING
AIR CONDITIONING COOLING UNIT
COMBINATION SWITCH
DASHBOARD & RELATED PARTS
DASHBOARD EQUIPMENTS
DASHBOARD SWITCHES
HEATER
HEATER BLOWER COMPONENTS
HEATER CONTROL COMPONENTS
HEATER UNIT COMPONENTS
METER COMPONENTS
METER HOOD
SPEEDOMETER CABLE
VENTILATOR
ELECTRONICS
1996 MIATA
Go to ELECTRONICS
AUDIO SYSTEMS (ANTENNA & SPEAKER)
AUDIO SYSTEMS (RADIO & TAPE DECK)
AUTO CRUISE CONTROL SYSTEM
BODY RELAYS & UNIT
DASHBOARD WIRING HARNESSES
DOOR, FLOOR & CEILING WIRING HARNESSES
DOOR SWITCH & HORNS
ENGINE & TRANSMISSION WIRING HARNESSES
ENGINE SWITCHES & RELAYS
FRONT & REAR WIRING HARNESSES
WINDSHIELD WASHER (W/O ANTILOCK BRAKE)
WINDSHIELD WASHER (W/O ANTILOCK BRAKE)
WINDSHIELD WIPERS
WIPER MOTOR COMPONENTS
WIRING HARNESS CLAMPS
ENGINE & TRANSMISSION
1996 MIATA
Go to ENGINE & TRANSMISSION
AIR CLEANER
ALTERNATOR
AUTOMATIC TRANSMISSION CASE & MAIN CONTROL SYSTEM
AUTOMATIC TRANSMISSION CLUTCHES & PLANETARY GEARS
AUTOMATIC TRANSMISSION CONTROL VALVE
AUTOMATIC TRANSMISSION GASKET & SEAL KIT
AUTOMATIC TRANSMISSION GOVERNOR LOW & REVERSE PISTON
AUTOMATIC TRANSMISSION MANUAL LINKAGE SYSTEM
AUTOMATIC TRANSMISSION TORQUE CONVERTER OIL PUMP & PIPINGS
BATTERY
BRACKET, PULLEY & BELT
CHANGE CONTROL SYSTEM (AT)
CLUTCH DISC & COVER
COOLING SYSTEM
CYLINDER BLOCK
CYLINDER HEAD & COVER
EMISSION CONTROL SYSTEM (INLET SIDE)
ENGINE & GASKET SETS
ENGINE ELECTRICAL SYSTEM
EXHAUST MANIFOLD
FUEL DISTRIBUTOR
FUEL SYSTEM
INLET MANIFOLD
MANUAL TRANSMISSION CASE
MANUAL TRANSMISSION CHANGE CONTROL SYSTEM
MANUAL TRANSMISSION GEARS
OIL PAN & TIMING COVER
OIL PUMP & FILTER
PISTON CRANKSHAFT & FLYWHEEL
STARTER (AT)
STARTER (MT)
THROTTLE BODY
VALVE SYSTEM
INTERIOR
1996 MIATA
Go to INTERIOR
AIR BAG
CONSOLE
FLOOR MATS & PADS
FRONT DOOR TRIMS & RELATED PARTS
FRONT HEADER TRIM & PILLAR TRIMS
QUARTER WINDOW & TRIMS
SEAT BELTS
SEATS
SERVICE TOOLS
SUN VISORS, ASSIST HANDLES & MIRRORS
TRIMS & SCUFF PLATES
Apparel
Apparel
Go to Apparel
Sweatshirts
Bags & Packs
Apparel
Go to Bags & Packs
Backpacks
Luggage & Travel
Racing Gloves
Racing Shoes
Racing Suits
Belts & Harnesses
Car Equiptment
Car Equiptment
Go to Car Equiptment
Tow Hooks
Data & Communication
Fire Systems & Parts
Helmets & Accessories
Helmets & Accessories
Go to Helmets & Accessories
Head & Neck Restraints
Seats & Mounting
Seats & Mounting
Go to Seats & Mounting
Race Seats
Reclineable Seats
Seat Brackets & Frames
Seat Cushions & Pads
Tools & Shop Equipment
Log in
Cart
0
0 items
Free 3-Day Shipping Over $56*
Continental U.S. | Some exclusions.
365 Day Replacement Guarantee
Return ANY item within a year!
Mazda Motorsports Preferred Shop
All we do is Mazda. Race Mazda. Build Mazda.
Expert Service & Maintenance
Schedule service & installation at our CT facility.
NA Miata (89-97)
NB Miata (99-05)
NB Miata (99-05)
Go to NB Miata (99-05)
Brakes
Brakes
Go to Brakes
Brake Calipers - OE
Brake Caliper Rebuild Kits
Brake Hardware
Brake Line Kits
Brake Master Cylinder
Brake Pads - OE
Brake Pads - Performance
Brake Rotors - Drilled
Brake Rotors - OE
Cooling
Cooling
Go to Cooling
Fans & Shrouds
Hoses
Oil Coolers
Radiators
Thermostats
Drivetrain
Drivetrain
Go to Drivetrain
Transmission
Transmission
Go to Transmission
Bearings
Clutch Discs
Clutch Kits - Single
Flywheels
Pressure Plates
Release Bearings
Tools
Differential Bushings
Engine
Engine
Go to Engine
Air Filters - Drop In
Air Filters - Universal Fit
Bearings
Clutch Lines
Cold Air Intakes
Differentials
Connecting Rods - 4Cyl
Crankshaft Dampers
Fuel Filters
Fuel Pumps
Fuel Rails
Hardware Kits - Other
Head Gaskets
Head Stud & Bolt Kits
Intake Manifolds
Main Stud & Bolt Kits
Oil Caps
Oil Catch Cans
Oil Filters
Phenolic Spacers
Rod Bolt Kits
Short Ram Air Intakes
Spark Plugs
Spark Plug Wire Sets
Stock Replacement Ignition
Throttle Bodies
Exhaust
Exhaust
Go to Exhaust
Axle Back
Catback
Catalytic Converter Direct Fit
Catalytic Converter Universal
Oxygen Sensors
Exterior
Exterior
Go to Exterior
Tail Lights
Interior
Interior
Go to Interior
Gauge Pods
Seat Brackets & Frames
Shift Knobs
Steering Wheel Hubs
Maintenance
Maintenance
Go to Maintenance
Air Filters - Drop In
Air Filters - Universal Fit
Fuel Filters
Oil Catch Cans
Oil Filters
Suspension
Suspension
Go to Suspension
Ball Joints
Bolts
Bushing Kits
Bushings - Full Vehicle Kits
Camber Kits
Coilovers
Control Arms
Lowering Springs
Shocks and Struts
Shock & Spring Kits
Shock Mounts & Camber Plates
Strut Bars
Suspension Packages
Sway Bars
Sway Bar Bushings
Sway Bar Endlinks
Tie Rods
Wheel Bearings
Wheel Hubs
Wheel Studs
Wheels & Tires
Wheels & Tires
Go to Wheels & Tires
Wheel Spacers & Adapters
NC MX-5 (06-15)
NC MX-5 (06-15)
Go to NC MX-5 (06-15)
Brakes
Brakes
Go to Brakes
Test
Test 2
Cooling System
ND MX-5 (16+)
ND MX-5 (16+)
Go to ND MX-5 (16+)
Mazda OEM Parts
Mazda OEM Parts
Go to Mazda OEM Parts
1990 MIATA
1990 MIATA
Go to 1990 MIATA
BODY
BODY
Go to BODY
ACCESSORIES
BONNET
CAUTION PLATES & LABELS
DASH & COWL PANELS
FENDER & WHEEL APRON PANELS
FLOOR ATTACHMENTS
FLOOR ATTACHMENTS (HOLE COVERS)
FLOOR PANELS
FRONT BUMPER
FRONT COMBINATION LAMPS
FRONT DOOR MECHANISMS
FRONT DOORS
FRONT PANELS
HEAD LAMP RETRACTORS
HEAD LAMPS
KEY SETS
LICENSE LAMPS
REAR BUMPER
REAR COMBINATION LAMPS
REAR FINISHER
SIDE PANELS
SUNROOF
TRUNK LID
WINDOW GLASSES
WINDOW MOULDING & COWL GRILLES
CHASSIS, DRIVELINE & BRAKES
CHASSIS, DRIVELINE & BRAKES
Go to CHASSIS, DRIVELINE & BRAKES
ACCELERATOR CONTROL SYSTEM
AUTOMATIC TRANSMISSION BRAKE PEDAL
BRAKE MASTER CYLINDER & POWER BRAKE
BRAKE PIPINGS
CROSSMEMBER & STABILIZER
ENGINE & T/MISSION MOUNTINGS
EXHAUST SYSTEM
FRONT AXLE
FRONT BRAKE MECHANISMS
FRONT SPRING & DAMPER
FRONT SUSPENSION MECHANISMS
FUEL PIPINGS
FUEL TANK
MANUAL TRANSMISSION CLUTCH & BRAKE PEDALS
MANUAL TRANSMISSION CLUTCH PIPINGS
MANUAL TRANSMISSION CLUTCH RELEASE & MASTER CYLINDERS
PARKING BRAKE SYSTEM
POWER STEERING SYSTEM
REAR AXLE
REAR BRAKE MECHANISMS
REAR DIFFERENTIALS (LIMITED SLIP DIFF.)
REAR DIFFERENTIALS (NORMAL DIFF.)
REAR DRIVE SHAFT
REAR LOWER ARMS & SUB FRAME
REAR PROPELLER SHAFT
REAR SPRING & DAMPER
REAR STABILIZER
STEERING COLUMN & SHAFTS
STEERING GEAR (W/ POWER STEERING)
STEERING GEAR (W/O POWER STEERING)
STEERING WHEEL
TIRES & JACK
DASHBOARD
DASHBOARD
Go to DASHBOARD
AIR CONDITIONER
AIR CONDITIONING COMPRESSOR COMPONENTS
AIR CONDITIONING COOLING PIPE O-RING
AIR CONDITIONING COOLING UNIT
COMBINATION SWITCH
DASHBOARD & RELATED PARTS
DASHBOARD EQUIPMENTS
DASHBOARD SWITCHES
HEATER
HEATER BLOWER COMPONENTS
HEATER CONTROL COMPONENTS
HEATER UNIT COMPONENTS
METER COMPONENTS
METER HOOD
SPEEDOMETER CABLE
VENTILATOR
ELECTRONICS
ELECTRONICS
Go to ELECTRONICS
AUDIO SYSTEMS (ANTENNA & SPEAKER)
AUDIO SYSTEMS (RADIO & TAPE DECK)
AUTO CRUISE CONTROL SYSTEM
BODY RELAYS & UNIT
DASHBOARD WIRING HARNESSES
DOOR, FLOOR & CEILING WIRING HARNESSES
DOOR SWITCH & HORNS
ENGINE & TRANSMISSION WIRING HARNESSES
ENGINE SWITCHES & RELAYS
FRONT & REAR WIRING HARNESSES
WINDSHIELD WASHER
WINDSHIELD WIPERS
WIPER MOTOR COMPONENTS
ENGINE & TRANSMISSION
ENGINE & TRANSMISSION
Go to ENGINE & TRANSMISSION
AIR CLEANER
ALTERNATOR
AUTOMATIC TRANSMISSION CASE & MAIN CONTROL SYSTEM
AUTOMATIC TRANSMISSION CLUTCHES & PLANETARY GEARS
AUTOMATIC TRANSMISSION CONTROL VALVE
AUTOMATIC TRANSMISSION GASKET & SEAL KIT
AUTOMATIC TRANSMISSION GOVERNOR, LOW & REVERSE PISTON
AUTOMATIC TRANSMISSION MANUAL LINKAGE SYSTEM
AUTOMATIC TRANSMISSION TORQUE CONVERTER, OIL PUMP & PIPINGS
BATTERY
BRACKET, PULLEY & BELT
CAP & HOSE CLIP (INLET & EXHAUST SIDE)
CHANGE CONTROL SYSTEM (AT)
CLUTCH DISC & COVER
COOLING SYSTEM
CYLINDER BLOCK
CYLINDER HEAD & COVER
EMISSION CONTROL SYSTEM (INLET SIDE)
ENGINE & GASKET SETS
ENGINE ELECTRICAL SYSTEM
EXHAUST MANIFOLD
FUEL DISTRIBUTOR
FUEL SYSTEM
INLET MANIFOLD
MANUAL TRANSMISSION CASE
MANUAL TRANSMISSION CHANGE CONTROL SYSTEM
MANUAL TRANSMISSION GEARS
OIL PAN & TIMING COVER
OIL PUMP & FILTER
PISTON CRANKSHAFT & FLYWHEEL
STARTER
THROTTLE BODY
VALVE SYSTEM
INTERIOR
INTERIOR
Go to INTERIOR
CONSOLE
FLOOR MATS & PADS
FRONT DOOR TRIMS & RELATED PARTS
FRONT HEADER TRIM & PILLAR TRIMS
QUARTER WINDOW & TRIMS
SEAT BELTS
SEATS
SERVICE TOOLS
SUN VISORS, ASSIST HANDLES & MIRRORS
TRIMS & SCUFF PLATES
1991 MIATA
1991 MIATA
Go to 1991 MIATA
BODY
BODY
Go to BODY
BONNET
CAUTION PLATES & LABELS
DASH & COWL PANELS
FENDER & WHEEL APRON PANELS
FLOOR ATTACHMENTS
FLOOR ATTACHMENTS (HOLE COVERS)
FLOOR PANELS
FRONT BUMPER
FRONT COMBINATION LAMPS
FRONT DOOR MECHANISMS
FRONT DOORS
FRONT PANELS
HEAD LAMP RETRACTORS
HEAD LAMPS
KEY SETS
LICENSE LAMPS
REAR BUMPER
REAR COMBINATION LAMPS
REAR FINISHER
SIDE PANELS
SUNROOF
TRUNK LID
WINDOW GLASSES
WINDOW MOULDING & COWL GRILLES
CHASSIS, DRIVELINE & BRAKES
CHASSIS, DRIVELINE & BRAKES
Go to CHASSIS, DRIVELINE & BRAKES
ACCELERATOR CONTROL SYSTEM
AUTOMATIC TRANSMISSION BRAKE PEDAL
BRAKE MASTER CYLINDER & POWER BRAKE
BRAKE PIPINGS
CROSSMEMBER & STABILIZER
ENGINE & T/MISSION MOUNTINGS
EXHAUST SYSTEM
FRONT AXLE
FRONT BRAKE MECHANISMS
FRONT SPRING & DAMPER
FRONT SUSPENSION MECHANISMS
FUEL PIPINGS
FUEL TANK
MANUAL TRANSMISSION CLUTCH & BRAKE PEDALS
MANUAL TRANSMISSION CLUTCH PIPINGS
MANUAL TRANSMISSION CLUTCH RELEASE & MASTER CYLINDERS
PARKING BRAKE SYSTEM
POWER STEERING SYSTEM
REAR AXLE
REAR BRAKE MECHANISMS
REAR DIFFERENTIALS (LIMITED SLIP DIFF.)
REAR DIFFERENTIALS (NORMAL DIFF.)
REAR DRIVE SHAFT
REAR LOWER ARMS & SUB FRAME
REAR PROPELLER SHAFT
REAR SPRING & DAMPER
REAR STABILIZER
STEERING COLUMN & SHAFTS
STEERING GEAR (W/ POWER STEERING)
STEERING GEAR (W/O POWER STEERING)
STEERING WHEEL
TIRES & JACK
DASHBOARD
DASHBOARD
Go to DASHBOARD
AIR CONDITIONER
AIR CONDITIONING COMPRESSOR COMPONENTS
AIR CONDITIONING COOLING PIPE O-RING
AIR CONDITIONING COOLING UNIT
COMBINATION SWITCH
DASHBOARD & RELATED PARTS
DASHBOARD EQUIPMENTS
DASHBOARD SWITCHES
HEATER
HEATER BLOWER COMPONENTS
HEATER CONTROL COMPONENTS
HEATER UNIT COMPONENTS
METER COMPONENTS
METER HOOD
SPEEDOMETER CABLE
VENTILATOR
ELECTRONICS
ELECTRONICS
Go to ELECTRONICS
AUDIO SYSTEMS (ANTENNA & SPEAKER)
AUDIO SYSTEMS (RADIO & TAPE DECK)
AUTO CRUISE CONTROL SYSTEM
BODY RELAYS & UNIT
DASHBOARD WIRING HARNESSES
DOOR, FLOOR & CEILING WIRING HARNESSES
DOOR SWITCH & HORNS
ENGINE & TRANSMISSION WIRING HARNESSES
ENGINE SWITCHES & RELAYS
FRONT & REAR WIRING HARNESSES
WINDSHIELD WASHER
WINDSHIELD WIPERS
WIPER MOTOR COMPONENTS
ENGINE & TRANSMISSION
ENGINE & TRANSMISSION
Go to ENGINE & TRANSMISSION
AIR CLEANER
ALTERNATOR
AUTOMATIC TRANSMISSION CASE & MAIN CONTROL SYSTEM
AUTOMATIC TRANSMISSION CLUTCHES & PLANETARY GEARS
AUTOMATIC TRANSMISSION CONTROL VALVE
AUTOMATIC TRANSMISSION GASKET & SEAL KIT
AUTOMATIC TRANSMISSION GOVERNOR LOW & REVERSE PISTON
AUTOMATIC TRANSMISSION MANUAL LINKAGE SYSTEM
AUTOMATIC TRANSMISSION TORQUE CONVERTER OIL PUMP & PIPINGS
BATTERY
BRACKET, PULLEY & BELT
CHANGE CONTROL SYSTEM (AT)
CLUTCH DISC & COVER
COOLING SYSTEM
CYLINDER BLOCK
CYLINDER HEAD & COVER
EMISSION CONTROL SYSTEM (INLET SIDE)
ENGINE & GASKET SETS
ENGINE ELECTRICAL SYSTEM
EXHAUST MANIFOLD
FUEL DISTRIBUTOR
FUEL SYSTEM
INLET MANIFOLD
MANUAL TRANSMISSION CASE
MANUAL TRANSMISSION CHANGE CONTROL SYSTEM
MANUAL TRANSMISSION GEARS
OIL PAN & TIMING COVER
OIL PUMP & FILTER
PISTON CRANKSHAFT & FLYWHEEL
STARTER
THROTTLE BODY
VALVE SYSTEM
INTERIOR
INTERIOR
Go to INTERIOR
CONSOLE
FLOOR MATS & PADS
FRONT DOOR TRIMS & RELATED PARTS
FRONT HEADER TRIM & PILLAR TRIMS
QUARTER WINDOW & TRIMS
SEAT BELTS
SEATS
SERVICE TOOLS
SUN VISORS, ASSIST HANDLES & MIRRORS
TRIMS & SCUFF PLATES
1992 MIATA
1992 MIATA
Go to 1992 MIATA
BODY
BODY
Go to BODY
BONNET
CAUTION PLATES & LABELS
DASH & COWL PANELS
FENDER & WHEEL APRON PANELS
FLOOR ATTACHMENTS
FLOOR ATTACHMENTS (HOLE COVERS)
FLOOR PANELS
FRONT BUMPER
FRONT COMBINATION LAMPS
FRONT DOOR MECHANISMS
FRONT DOORS
FRONT PANELS
HEAD LAMP RETRACTORS
HEAD LAMPS
KEY SETS
LICENSE LAMPS
REAR BUMPER
REAR COMBINATION LAMPS
REAR FINISHER
SIDE PANELS
SUNROOF
TRUNK LID
WINDOW GLASSES
WINDOW MOULDING & COWL GRILLES
CHASSIS, DRIVELINE & BRAKES
CHASSIS, DRIVELINE & BRAKES
Go to CHASSIS, DRIVELINE & BRAKES
ACCELERATOR CONTROL SYSTEM
AUTOMATIC TRANSMISSION BRAKE PEDAL
BRAKE MASTER CYLINDER & POWER BRAKE
BRAKE PIPINGS
CROSSMEMBER & STABILIZER
ENGINE & T/MISSION MOUNTINGS
EXHAUST SYSTEM
FRONT AXLE
FRONT BRAKE MECHANISMS
FRONT SPRING & DAMPER
FRONT SUSPENSION MECHANISMS
FUEL PIPINGS
FUEL TANK
MANUAL TRANSMISSION CLUTCH & BRAKE PEDALS
MANUAL TRANSMISSION CLUTCH PIPINGS
MANUAL TRANSMISSION CLUTCH RELEASE & MASTER CYLINDERS
PARKING BRAKE SYSTEM
POWER STEERING SYSTEM
REAR AXLE
REAR BRAKE MECHANISMS
REAR DIFFERENTIALS (LIMITED SLIP DIFF.)
REAR DIFFERENTIALS (NORMAL DIFF.)
REAR DRIVE SHAFT
REAR LOWER ARMS & SUB FRAME
REAR PROPELLER SHAFT
REAR SPRING & DAMPER
REAR STABILIZER
STEERING COLUMN & SHAFTS
STEERING GEAR (W/ POWER STEERING)
STEERING GEAR (W/O POWER STEERING)
STEERING WHEEL
TIRES & JACK
DASHBOARD
DASHBOARD
Go to DASHBOARD
AIR CONDITIONER
AIR CONDITIONING COMPRESSOR COMPONENTS
AIR CONDITIONING COOLING PIPE O-RING
AIR CONDITIONING COOLING UNIT
COMBINATION SWITCH
DASHBOARD & RELATED PARTS
DASHBOARD EQUIPMENTS
DASHBOARD SWITCHES
HEATER
HEATER BLOWER COMPONENTS
HEATER CONTROL COMPONENTS
HEATER UNIT COMPONENTS
METER COMPONENTS
METER HOOD
SPEEDOMETER CABLE
VENTILATOR
ELECTRONICS
ELECTRONICS
Go to ELECTRONICS
AUDIO SYSTEMS (ANTENNA & SPEAKER)
AUDIO SYSTEMS (RADIO & TAPE DECK)
AUTO CRUISE CONTROL SYSTEM
BODY RELAYS & UNIT
DASHBOARD WIRING HARNESSES
DOOR, FLOOR & CEILING WIRING HARNESSES
DOOR SWITCH & HORNS
ENGINE & TRANSMISSION WIRING HARNESSES
ENGINE SWITCHES & RELAYS
FRONT & REAR WIRING HARNESSES
WINDSHIELD WASHER
WINDSHIELD WIPERS
WIPER MOTOR COMPONENTS
ENGINE & TRANSMISSION
ENGINE & TRANSMISSION
Go to ENGINE & TRANSMISSION
AIR CLEANER
ALTERNATOR
AUTOMATIC TRANSMISSION CASE & MAIN CONTROL SYSTEM
AUTOMATIC TRANSMISSION CLUTCHES & PLANETARY GEARS
AUTOMATIC TRANSMISSION CONTROL VALVE
AUTOMATIC TRANSMISSION GASKET & SEAL KIT
AUTOMATIC TRANSMISSION GOVERNOR LOW & REVERSE PISTON
AUTOMATIC TRANSMISSION MANUAL LINKAGE SYSTEM
AUTOMATIC TRANSMISSION TORQUE CONVERTER OIL PUMP & PIPINGS
BATTERY
BRACKET, PULLEY & BELT
CHANGE CONTROL SYSTEM (AT)
CLUTCH DISC & COVER
COOLING SYSTEM
CYLINDER BLOCK
CYLINDER HEAD & COVER
EMISSION CONTROL SYSTEM (INLET SIDE)
ENGINE & GASKET SETS
ENGINE ELECTRICAL SYSTEM
EXHAUST MANIFOLD
FUEL DISTRIBUTOR
FUEL SYSTEM
INLET MANIFOLD
MANUAL TRANSMISSION CASE
MANUAL TRANSMISSION CHANGE CONTROL SYSTEM
MANUAL TRANSMISSION GEARS
OIL PAN & TIMING COVER
OIL PUMP & FILTER
PISTON CRANKSHAFT & FLYWHEEL
STARTER
THROTTLE BODY
VALVE SYSTEM
INTERIOR
INTERIOR
Go to INTERIOR
CONSOLE
FLOOR MATS & PADS
FRONT DOOR TRIMS & RELATED PARTS
FRONT HEADER TRIM & PILLAR TRIMS
QUARTER WINDOW & TRIMS
SEAT BELTS
SEATS
SERVICE TOOLS
SUN VISORS, ASSIST HANDLES & MIRRORS
TRIMS & SCUFF PLATES
1993 MIATA
1993 MIATA
Go to 1993 MIATA
BODY
BODY
Go to BODY
BONNET
CAUTION PLATES & LABELS
DASH & COWL PANELS
FENDER & WHEEL APRON PANELS
FLOOR ATTACHMENTS
FLOOR ATTACHMENTS (HOLE COVERS)
FLOOR PANELS
FRONT BUMPER
FRONT COMBINATION LAMPS
FRONT DOOR MECHANISMS
FRONT DOORS
FRONT PANELS
HEAD LAMP RETRACTORS
HEAD LAMPS
KEY SETS
LICENSE LAMPS
ORNAMENTS
REAR BUMPER
REAR COMBINATION LAMPS
REAR FINISHER
SIDE PANELS
SUNROOF
TRUNK LID
WINDOW GLASSES
WINDOW MOULDING & COWL GRILLES
CHASSIS, DRIVELINE & BRAKES
CHASSIS, DRIVELINE & BRAKES
Go to CHASSIS, DRIVELINE & BRAKES
ACCELERATOR CONTROL SYSTEM
ANTI LOCK BRAKE SYSTEM
AUTOMATIC TRANSMISSION BRAKE PEDAL
BRAKE MASTER CYLINDER & POWER BRAKE (ANTI LOCK BRAKE SYSTEM)
BRAKE MASTER CYLINDER & POWER BRAKE (W/O ANTI LOCK BRAKE SYSTEM)
BRAKE PIPINGS (ANTI LOCK BRAKE SYSTEM)
BRAKE PIPINGS (W/O ANTI LOCK BRAKE SYSTEM)
CROSSMEMBER & STABILIZER
ENGINE & T/MISSION MOUNTINGS
EXHAUST SYSTEM
FRONT AXLE (ANTI LOCK BRAKE SYSTEM)
FRONT AXLE (W/O ANTI LOCK BRAKE SYSTEM)
FRONT BRAKE MECHANISMS
FRONT SPRING & DAMPER
FRONT SUSPENSION MECHANISMS
FUEL LID OPENER
FUEL PIPINGS
FUEL TANK
MANUAL TRANSMISSION CLUTCH & BRAKE PEDALS
MANUAL TRANSMISSION CLUTCH PIPINGS
MANUAL TRANSMISSION CLUTCH RELEASE & MASTER CYLINDERS
PARKING BRAKE SYSTEM
POWER STEERING SYSTEM
REAR AXLE
REAR BRAKE MECHANISMS
REAR DIFFERENTIALS (LIMITED SLIP DIFF.)
REAR DIFFERENTIALS (NORMAL DIFF.)
REAR DRIVE SHAFT
REAR LOWER ARMS & SUB FRAME
REAR PROPELLER SHAFT
REAR SPRING & DAMPER
REAR STABILIZER
REAR SUSPENSION MECHANISMS
STEERING COLUMN & SHAFTS
STEERING GEAR (W/ POWER STEERING)
STEERING GEAR (W/O POWER STEERING)
STEERING WHEEL
TIRES & JACK
DASHBOARD
DASHBOARD
Go to DASHBOARD
AIR CONDITIONER
AIR CONDITIONING COMPRESSOR COMPONENTS
AIR CONDITIONING COOLING PIPE O-RING
AIR CONDITIONING COOLING UNIT
COMBINATION SWITCH
DASHBOARD & RELATED PARTS
DASHBOARD EQUIPMENTS
DASHBOARD SWITCHES
HEATER
HEATER BLOWER COMPONENTS
HEATER CONTROL COMPONENTS
HEATER UNIT COMPONENTS
METER COMPONENTS
METER HOOD
SPEEDOMETER CABLE
VENTILATOR
ELECTRONICS
ELECTRONICS
Go to ELECTRONICS
AUDIO SYSTEMS (ANTENNA & SPEAKER)
AUDIO SYSTEMS (RADIO & TAPE DECK)
AUTO CRUISE CONTROL SYSTEM
BODY RELAYS & UNIT
DASHBOARD WIRING HARNESSES
DOOR, FLOOR & CEILING WIRING HARNESSES
DOOR SWITCH & HORNS
ENGINE & TRANSMISSION WIRING HARNESSES
ENGINE SWITCHES & RELAYS
FRONT & REAR WIRING HARNESSES
WINDSHIELD WASHER
WINDSHIELD WIPERS
WIPER MOTOR COMPONENTS
WIRING HARNESS CLAMPS
ENGINE & TRANSMISSION
ENGINE & TRANSMISSION
Go to ENGINE & TRANSMISSION
AIR CLEANER
ALTERNATOR
AUTOMATIC TRANSMISSION CASE & MAIN CONTROL SYSTEM
AUTOMATIC TRANSMISSION CLUTCHES & PLANETARY GEARS
AUTOMATIC TRANSMISSION CONTROL VALVE
AUTOMATIC TRANSMISSION GASKET & SEAL KIT
AUTOMATIC TRANSMISSION GOVERNOR LOW & REVERSE PISTON
AUTOMATIC TRANSMISSION MANUAL LINKAGE SYSTEM
AUTOMATIC TRANSMISSION TORQUE CONVERTER OIL PUMP & PIPINGS
BATTERY
BRACKET, PULLEY & BELT
CHANGE CONTROL SYSTEM (AT)
CLUTCH DISC & COVER
COOLING SYSTEM
CYLINDER BLOCK
CYLINDER HEAD & COVER
EMISSION CONTROL SYSTEM (INLET SIDE)
ENGINE & GASKET SETS
ENGINE ELECTRICAL SYSTEM
EXHAUST MANIFOLD
FUEL DISTRIBUTOR
FUEL SYSTEM
INLET MANIFOLD
MANUAL TRANSMISSION CASE
MANUAL TRANSMISSION CHANGE CONTROL SYSTEM
MANUAL TRANSMISSION GEARS
OIL PAN & TIMING COVER
OIL PUMP & FILTER
PISTON CRANKSHAFT & FLYWHEEL
STARTER
THROTTLE BODY
VALVE SYSTEM
INTERIOR
INTERIOR
Go to INTERIOR
AIR BAG
CONSOLE
FLOOR MATS & PADS
FRONT DOOR TRIMS & RELATED PARTS
FRONT HEADER TRIM & PILLAR TRIMS
QUARTER WINDOW & TRIMS
SEAT BELTS
SEATS
SERVICE TOOLS
SUN VISORS, ASSIST HANDLES & MIRRORS
TRIMS & SCUFF PLATES
1994 MIATA
1994 MIATA
Go to 1994 MIATA
BODY
BODY
Go to BODY
BONNET
CAUTION PLATES & LABELS
DASH & COWL PANELS
FENDER & WHEEL APRON PANELS
FLOOR ATTACHMENTS
FLOOR ATTACHMENTS (HOLE COVERS)
FLOOR PANELS
FRONT BUMPER
FRONT COMBINATION LAMPS
FRONT DOOR MECHANISMS
FRONT DOORS
FRONT PANELS
HEAD LAMP RETRACTORS
HEAD LAMPS
KEY SETS
LICENSE LAMPS
ORNAMENTS
REAR BUMPER
REAR COMBINATION LAMPS
REAR FINISHER
SIDE PANELS
SUNROOF
TRUNK LID
WINDOW GLASSES
WINDOW MOULDING & COWL GRILLES
CHASSIS, DRIVELINE & BRAKES
CHASSIS, DRIVELINE & BRAKES
Go to CHASSIS, DRIVELINE & BRAKES
ACCELERATOR CONTROL SYSTEM
ANTI LOCK BRAKE SYSTEM
AUTOMATIC TRANSMISSION BRAKE PEDAL
BRAKE MASTER CYLINDER & POWER BRAKE (ANTI LOCK BRAKE SYSTEM)
BRAKE MASTER CYLINDER & POWER BRAKE (W/O ANTI LOCK BRAKE SYSTEM)
BRAKE PIPINGS (ANTI LOCK BRAKE SYSTEM)
BRAKE PIPINGS (W/O ANTI LOCK BRAKE SYSTEM)
CROSSMEMBER & STABILIZER
ENGINE & T/MISSION MOUNTINGS
EXHAUST SYSTEM
FRONT AXLE (ANTI LOCK BRAKE SYSTEM)
FRONT AXLE (W/O ANTI LOCK BRAKE SYSTEM)
FRONT BRAKE MECHANISMS
FRONT SPRING & DAMPER
FRONT SUSPENSION MECHANISMS
FUEL LID OPENER
FUEL PIPINGS
FUEL TANK
MANUAL TRANSMISSION CLUTCH & BRAKE PEDALS
MANUAL TRANSMISSION CLUTCH PIPINGS
MANUAL TRANSMISSION CLUTCH RELEASE & MASTER CYLINDERS
PARKING BRAKE SYSTEM
POWER STEERING SYSTEM
REAR AXLE
REAR BRAKE MECHANISMS
REAR DIFFERENTIALS (LIMITED SLIP DIFF.)
REAR DIFFERENTIALS (NORMAL DIFF.)
REAR DRIVE SHAFT
REAR LOWER ARMS & SUB FRAME
REAR PROPELLER SHAFT
REAR SPRING & DAMPER
REAR STABILIZER
REAR SUSPENSION MECHANISMS
STEERING COLUMN & SHAFTS
STEERING GEAR (W/ POWER STEERING)
STEERING GEAR (W/O POWER STEERING)
STEERING WHEEL
TIRES & JACK
DASHBOARD
DASHBOARD
Go to DASHBOARD
AIR CONDITIONER
AIR CONDITIONING COMPRESSOR COMPONENTS
AIR CONDITIONING COOLING UNIT
COMBINATION SWITCH
DASHBOARD & RELATED PARTS
DASHBOARD EQUIPMENTS
DASHBOARD SWITCHES
HEATER
HEATER BLOWER COMPONENTS
HEATER CONTROL COMPONENTS
HEATER UNIT COMPONENTS
METER COMPONENTS
METER HOOD
SPEEDOMETER CABLE
VENTILATOR
ELECTRONICS
ELECTRONICS
Go to ELECTRONICS
AUDIO SYSTEMS (ANTENNA & SPEAKER)
AUDIO SYSTEMS (RADIO & TAPE DECK)
AUTO CRUISE CONTROL SYSTEM
BODY RELAYS & UNIT
DASHBOARD WIRING HARNESSES
DOOR, FLOOR & CEILING WIRING HARNESSES
DOOR SWITCH & HORNS
ENGINE & TRANSMISSION WIRING HARNESSES
ENGINE SWITCHES & RELAYS
FRONT & REAR WIRING HARNESSES
WINDSHIELD WASHER (ANTI LOCK BRAKE SYSTEM)
WINDSHIELD WASHER (W/O ANTI LOCK BRAKE SYSTEM)
WINDSHIELD WIPERS
WIPER MOTOR COMPONENTS
WIRING HARNESS CLAMPS
ENGINE & TRANSMISSION
ENGINE & TRANSMISSION
Go to ENGINE & TRANSMISSION
AIR CLEANER
ALTERNATOR
AUTOMATIC TRANSMISSION CASE & MAIN CONTROL SYSTEM
AUTOMATIC TRANSMISSION CLUTCHES & PLANETARY GEARS
AUTOMATIC TRANSMISSION CONTROL VALVE
AUTOMATIC TRANSMISSION GASKET & SEAL KIT
AUTOMATIC TRANSMISSION GOVERNOR LOW & REVERSE PISTON
AUTOMATIC TRANSMISSION MANUAL LINKAGE SYSTEM
AUTOMATIC TRANSMISSION TORQUE CONVERTER OIL PUMP & PIPINGS
BATTERY
BRACKET, PULLEY & BELT
CHANGE CONTROL SYSTEM (AT)
CLUTCH DISC & COVER
COOLING SYSTEM
CYLINDER BLOCK
CYLINDER HEAD & COVER
EMISSION CONTROL SYSTEM (INLET SIDE)
ENGINE & GASKET SETS
ENGINE ELECTRICAL SYSTEM
EXHAUST MANIFOLD
FUEL DISTRIBUTOR
FUEL SYSTEM
INLET MANIFOLD
MANUAL TRANSMISSION CASE
MANUAL TRANSMISSION CHANGE CONTROL SYSTEM
MANUAL TRANSMISSION GEARS
OIL PAN & TIMING COVER
OIL PUMP & FILTER
PISTON CRANKSHAFT & FLYWHEEL
STARTER (AT)
STARTER (MT)
THROTTLE BODY
VALVE SYSTEM
INTERIOR
INTERIOR
Go to INTERIOR
AIR BAG
CONSOLE
FLOOR MATS & PADS
FRONT DOOR TRIMS & RELATED PARTS
FRONT HEADER TRIM & PILLAR TRIMS
QUARTER WINDOW & TRIMS
SEAT BELTS
SEATS
SERVICE TOOLS
SUN VISORS, ASSIST HANDLES & MIRRORS
TRIMS & SCUFF PLATES
1995 MIATA
1995 MIATA
Go to 1995 MIATA
BODY
BODY
Go to BODY
BONNET
CAUTION PLATES & LABELS
DASH & COWL PANELS
FENDER & WHEEL APRON PANELS
FLOOR ATTACHMENTS
FLOOR ATTACHMENTS (HOLE COVERS)
FLOOR PANELS
FRONT BUMPER
FRONT COMBINATION LAMPS
FRONT DOOR MECHANISMS
FRONT DOORS
FRONT PANELS
HEAD LAMP RETRACTORS
HEAD LAMPS
KEY SETS
LICENSE LAMPS
ORNAMENTS
REAR BUMPER
REAR COMBINATION LAMPS
REAR FINISHER
SIDE PANELS
SUNROOF
TRUNK LID
WINDOW GLASSES
WINDOW MOULDING & COWL GRILLES
CHASSIS, DRIVELINE & BRAKES
CHASSIS, DRIVELINE & BRAKES
Go to CHASSIS, DRIVELINE & BRAKES
ACCELERATOR CONTROL SYSTEM
ANTI LOCK BRAKE SYSTEM
AUTOMATIC TRANSMISSION BRAKE PEDAL
BRAKE MASTER CYLINDER & POWER BRAKE (W/ ANTI LOCK BRAKE SYSTEM)
BRAKE MASTER CYLINDER & POWER BRAKE (W/O ANTILOCK BRAKE)
BRAKE PIPINGS (ANTI LOCK BRAKE SYSTEM)
BRAKE PIPINGS (W/O ANTI LOCK BRAKE SYSTEM)
CROSSMEMBER & STABILIZER
ENGINE & T/MISSION MOUNTINGS
EXHAUST SYSTEM
FRONT AXLE (W/ANTILOCK BRAKE)
FRONT AXLE (W/O ANTILOCK BRAKE)
FRONT BRAKE MECHANISMS
FRONT SUSPENSION MECHANISMS
FUEL LID OPENER
FUEL PIPINGS
FUEL TANK
MANUAL TRANSMISSION CLUTCH & BRAKE PEDALS
MANUAL TRANSMISSION CLUTCH PIPINGS
MANUAL TRANSMISSION CLUTCH RELEASE & MASTER CYLINDERS
PARKING BRAKE SYSTEM
POWER STEERING SYSTEM
REAR AXLE
REAR BRAKE MECHANISMS
REAR DIFFERENTIALS (LIMITED SLIP DIFF.)
REAR DIFFERENTIALS (NORMAL DIFF.)
REAR DRIVE SHAFT
REAR LOWER ARMS & SUB FRAME
REAR PROPELLER SHAFT
REAR STABILIZER
REAR SUSPENSION MECHANISMS
STEERING COLUMN & SHAFTS
STEERING GEAR (W/O POWER STEERING)
STEERING GEAR (W/ POWER STEERING)
STEERING WHEEL
TIRES & JACK
DASHBOARD
DASHBOARD
Go to DASHBOARD
AIR CONDITIONER
AIR CONDITIONING COMPRESSOR COMPONENTS
AIR CONDITIONING COOLING PIPE O-RING
AIR CONDITIONING COOLING UNIT
COMBINATION SWITCH
DASHBOARD & RELATED PARTS
DASHBOARD EQUIPMENTS
DASHBOARD SWITCHES
HEATER
HEATER BLOWER COMPONENTS
HEATER CONTROL COMPONENTS
HEATER UNIT COMPONENTS
METER COMPONENTS
METER HOOD
SPEEDOMETER CABLE
VENTILATOR
ELECTRONICS
ELECTRONICS
Go to ELECTRONICS
AUDIO SYSTEMS (ANTENNA & SPEAKER) [1995 Miata]
AUDIO SYSTEMS (RADIO & TAPE DECK)
AUTO CRUISE CONTROL SYSTEM
BODY RELAYS & UNIT
DASHBOARD WIRING HARNESSES
DOOR, FLOOR & CEILING WIRING HARNESSES
DOOR SWITCH & HORNS
ENGINE & TRANSMISSION WIRING HARNESSES
ENGINE SWITCHES & RELAYS
FRONT & REAR WIRING HARNESSES
WINDSHIELD WASHER (W/O ANTILOCK BRAKE)
WINDSHIELD WASHER (W/O ANTILOCK BRAKE)
WINDSHIELD WIPERS
WIPER MOTOR COMPONENTS
WIRING HARNESS CLAMPS
ENGINE & TRANSMISSION
ENGINE & TRANSMISSION
Go to ENGINE & TRANSMISSION
AIR CLEANER
ALTERNATOR
AUTOMATIC TRANSMISSION CASE & MAIN CONTROL SYSTEM
AUTOMATIC TRANSMISSION CLUTCHES & PLANETARY GEARS
AUTOMATIC TRANSMISSION CONTROL VALVE
AUTOMATIC TRANSMISSION GASKET & SEAL KIT
AUTOMATIC TRANSMISSION GOVERNOR LOW & REVERSE PISTON
AUTOMATIC TRANSMISSION MANUAL LINKAGE SYSTEM
AUTOMATIC TRANSMISSION TORQUE CONVERTER OIL PUMP & PIPINGS
BATTERY
BRACKET, PULLEY & BELT
CHANGE CONTROL SYSTEM (AT)
CLUTCH DISC & COVER
COOLING SYSTEM
CYLINDER BLOCK
CYLINDER HEAD & COVER
EMISSION CONTROL SYSTEM (INLET SIDE)
ENGINE & GASKET SETS
ENGINE ELECTRICAL SYSTEM
EXHAUST MANIFOLD
FUEL DISTRIBUTOR
FUEL SYSTEM
INLET MANIFOLD
MANUAL TRANSMISSION CASE
MANUAL TRANSMISSION CHANGE CONTROL SYSTEM
MANUAL TRANSMISSION GEARS
OIL PAN & TIMING COVER
OIL PUMP & FILTER
PISTON CRANKSHAFT & FLYWHEEL
STARTER (AT)
STARTER (MT)
THROTTLE BODY
VALVE SYSTEM
INTERIOR
INTERIOR
Go to INTERIOR
AIR BAG
CONSOLE
FLOOR MATS & PADS
FRONT DOOR TRIMS & RELATED PARTS
FRONT HEADER TRIM & PILLAR TRIMS
QUARTER WINDOW & TRIMS
SEAT BELTS
SEATS
SERVICE TOOLS
SUN VISORS, ASSIST HANDLES & MIRRORS
TRIMS & SCUFF PLATES
1996 MIATA
1996 MIATA
Go to 1996 MIATA
BODY
BODY
Go to BODY
BONNET
CAUTION PLATES & LABELS
DASH & COWL PANELS
FENDER & WHEEL APRON PANELS
FLOOR ATTACHMENTS
FLOOR ATTACHMENTS (HOLE COVERS)
FLOOR PANELS
FRONT BUMPER
FRONT COMBINATION LAMPS
FRONT DOOR MECHANISMS
FRONT DOORS
FRONT PANELS
HEAD LAMP RETRACTORS
HEAD LAMPS
KEY SETS
LICENSE LAMPS
ORNAMENTS
REAR BUMPER
REAR COMBINATION LAMPS
REAR FINISHER
SIDE PANELS
SUNROOF
TRUNK LID
WINDOW GLASSES
WINDOW MOULDING & COWL GRILLES
CHASSIS, DRIVELINE & BRAKES
CHASSIS, DRIVELINE & BRAKES
Go to CHASSIS, DRIVELINE & BRAKES
ACCELERATOR CONTROL SYSTEM
ANTI LOCK BRAKE SYSTEM
AUTOMATIC TRANSMISSION BRAKE PEDAL
BRAKE MASTER CYLINDER & POWER BRAKE (W/ ANTI LOCK BRAKE SYSTEM)
BRAKE MASTER CYLINDER & POWER BRAKE (W/O ANTILOCK BRAKE)
BRAKE PIPINGS (ANTI LOCK BRAKE SYSTEM)
BRAKE PIPINGS (W/O ANTI LOCK BRAKE SYSTEM)
CROSSMEMBER & STABILIZER
ENGINE & T/MISSION MOUNTINGS
EXHAUST SYSTEM
FRONT AXLE (W/ANTILOCK BRAKE)
FRONT AXLE (W/O ANTILOCK BRAKE)
FRONT BRAKE MECHANISMS
FRONT SUSPENSION MECHANISMS
FUEL LID OPENER
FUEL PIPINGS
FUEL TANK
MANUAL TRANSMISSION CLUTCH & BRAKE PEDALS
MANUAL TRANSMISSION CLUTCH PIPINGS
MANUAL TRANSMISSION CLUTCH RELEASE & MASTER CYLINDERS
PARKING BRAKE SYSTEM
POWER STEERING SYSTEM
REAR AXLE
REAR BRAKE MECHANISMS
REAR DIFFERENTIALS (LIMITED SLIP DIFF.)
REAR DIFFERENTIALS (NORMAL DIFF.)
REAR DRIVE SHAFT
REAR LOWER ARMS & SUB FRAME
REAR PROPELLER SHAFT
REAR STABILIZER
REAR SUSPENSION MECHANISMS
STEERING COLUMN & SHAFTS
STEERING GEAR (W/O POWER STEERING)
STEERING GEAR (W/ POWER STEERING)
STEERING WHEEL
TIRES & JACK
DASHBOARD
DASHBOARD
Go to DASHBOARD
AIR CONDITIONER
AIR CONDITIONING COMPRESSOR COMPONENTS
AIR CONDITIONING COOLING PIPE O-RING
AIR CONDITIONING COOLING UNIT
COMBINATION SWITCH
DASHBOARD & RELATED PARTS
DASHBOARD EQUIPMENTS
DASHBOARD SWITCHES
HEATER
HEATER BLOWER COMPONENTS
HEATER CONTROL COMPONENTS
HEATER UNIT COMPONENTS
METER COMPONENTS
METER HOOD
SPEEDOMETER CABLE
VENTILATOR
ELECTRONICS
ELECTRONICS
Go to ELECTRONICS
AUDIO SYSTEMS (ANTENNA & SPEAKER)
AUDIO SYSTEMS (RADIO & TAPE DECK)
AUTO CRUISE CONTROL SYSTEM
BODY RELAYS & UNIT
DASHBOARD WIRING HARNESSES
DOOR, FLOOR & CEILING WIRING HARNESSES
DOOR SWITCH & HORNS
ENGINE & TRANSMISSION WIRING HARNESSES
ENGINE SWITCHES & RELAYS
FRONT & REAR WIRING HARNESSES
WINDSHIELD WASHER (W/O ANTILOCK BRAKE)
WINDSHIELD WASHER (W/O ANTILOCK BRAKE)
WINDSHIELD WIPERS
WIPER MOTOR COMPONENTS
WIRING HARNESS CLAMPS
ENGINE & TRANSMISSION
ENGINE & TRANSMISSION
Go to ENGINE & TRANSMISSION
AIR CLEANER
ALTERNATOR
AUTOMATIC TRANSMISSION CASE & MAIN CONTROL SYSTEM
AUTOMATIC TRANSMISSION CLUTCHES & PLANETARY GEARS
AUTOMATIC TRANSMISSION CONTROL VALVE
AUTOMATIC TRANSMISSION GASKET & SEAL KIT
AUTOMATIC TRANSMISSION GOVERNOR LOW & REVERSE PISTON
AUTOMATIC TRANSMISSION MANUAL LINKAGE SYSTEM
AUTOMATIC TRANSMISSION TORQUE CONVERTER OIL PUMP & PIPINGS
BATTERY
BRACKET, PULLEY & BELT
CHANGE CONTROL SYSTEM (AT)
CLUTCH DISC & COVER
COOLING SYSTEM
CYLINDER BLOCK
CYLINDER HEAD & COVER
EMISSION CONTROL SYSTEM (INLET SIDE)
ENGINE & GASKET SETS
ENGINE ELECTRICAL SYSTEM
EXHAUST MANIFOLD
FUEL DISTRIBUTOR
FUEL SYSTEM
INLET MANIFOLD
MANUAL TRANSMISSION CASE
MANUAL TRANSMISSION CHANGE CONTROL SYSTEM
MANUAL TRANSMISSION GEARS
OIL PAN & TIMING COVER
OIL PUMP & FILTER
PISTON CRANKSHAFT & FLYWHEEL
STARTER (AT)
STARTER (MT)
THROTTLE BODY
VALVE SYSTEM
INTERIOR
INTERIOR
Go to INTERIOR
AIR BAG
CONSOLE
FLOOR MATS & PADS
FRONT DOOR TRIMS & RELATED PARTS
FRONT HEADER TRIM & PILLAR TRIMS
QUARTER WINDOW & TRIMS
SEAT BELTS
SEATS
SERVICE TOOLS
SUN VISORS, ASSIST HANDLES & MIRRORS
TRIMS & SCUFF PLATES
Driver Gear & Equipment
Driver Gear & Equipment
Go to Driver Gear & Equipment
Apparel
Apparel
Go to Apparel
Sweatshirts
Bags & Packs
Bags & Packs
Go to Bags & Packs
Backpacks
Luggage & Travel
Racing Gloves
Racing Shoes
Racing Suits
Belts & Harnesses
Car Equiptment
Car Equiptment
Go to Car Equiptment
Tow Hooks
Data & Communication
Fire Systems & Parts
Helmets & Accessories
Helmets & Accessories
Go to Helmets & Accessories
Head & Neck Restraints
Seats & Mounting
Seats & Mounting
Go to Seats & Mounting
Race Seats
Reclineable Seats
Seat Brackets & Frames
Seat Cushions & Pads
Tools & Shop Equipment
Our Services & Maintenance
Race Car Rentals!
Home
Collections
Collections
Close
Sidebar
Image
Categories
Racing Gear & Safety Equipment
Electronics
Fire Extinguishers
Fresh Air Systems
Helmets & Accessories
Safety Clothing
Safety Restraints
Window Nets & Components
Racing Equipment
Driver Cooling
Safety Restraints
Arrive & Drive Rental Program
Mazda OEM Parts & Kits
NC MX-5 Parts
NC MX-5: Chassis & Driveline
Custom Block
Custom Block Custom Block Custom Block Custom Block Custom Block Custom Block Custom Block
Featured Products
Vendor:
Vendor
Example product title
$19.99
$19.99
Unit price
/
per
Vendor:
Vendor
Example product title
$19.99
$19.99
Unit price
/
per
Vendor:
Vendor
Example product title
$19.99
$19.99
Unit price
/
per
Vendor:
Vendor
Example product title
$19.99
$19.99
Unit price
/
per
Vendor:
Vendor
Example product title
$19.99
$19.99
Unit price
/
per
Vendor:
Vendor
Example product title
$19.99
$19.99
Unit price
/
per
Vendor:
Vendor
Example product title
$19.99
$19.99
Unit price
/
per
Vendor:
Vendor
Example product title
$19.99
$19.99
Unit price
/
per
Filter
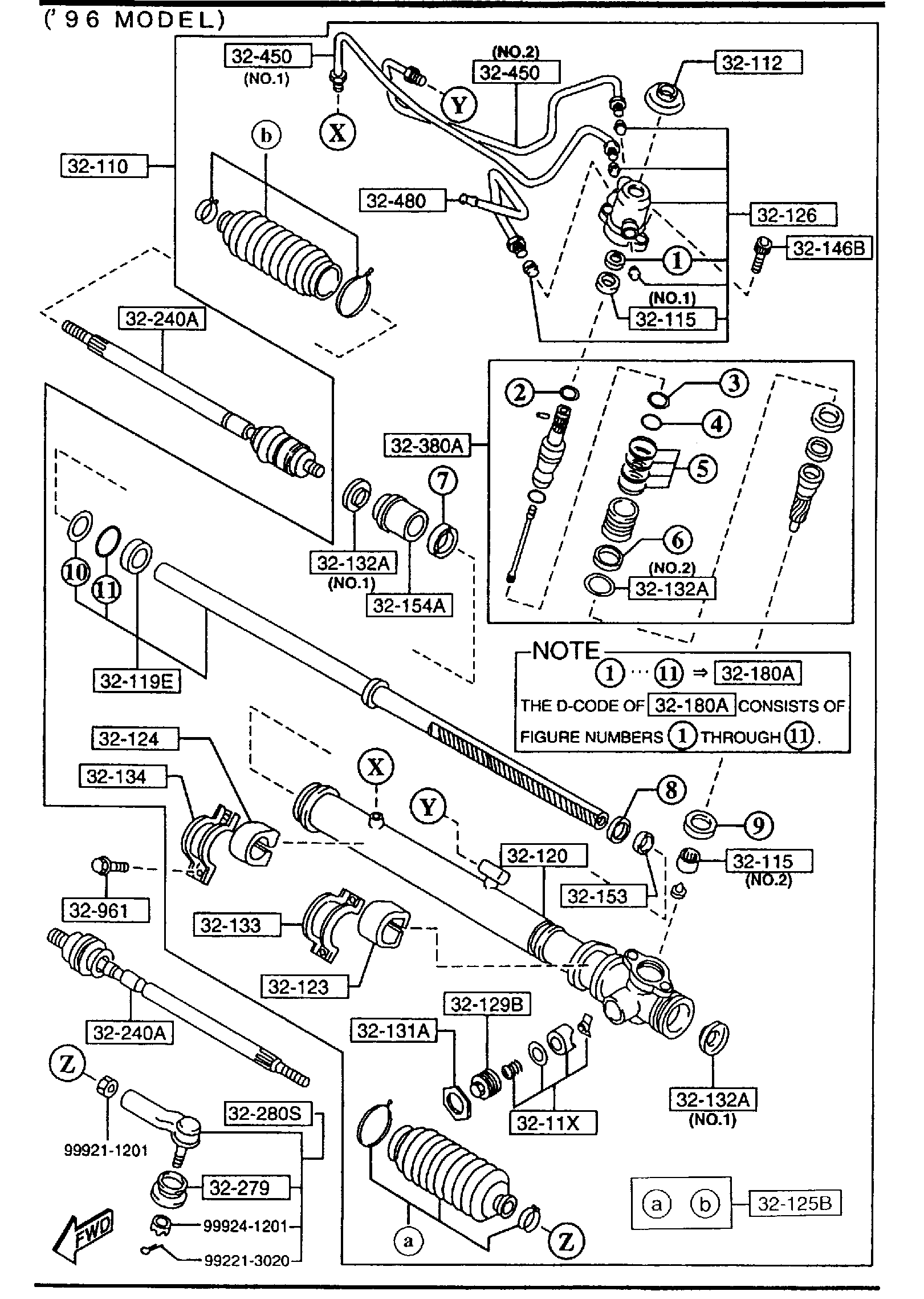
STEERING GEAR (W/O POWER STEERING) [1991 MIATA]
28 products
Shop Now
STEERING GEAR (W/O POWER STEERING) [1992 MIATA]
28 products
Shop Now
STEERING GEAR (W/O POWER STEERING) [1993 MIATA]
30 products
Shop Now
STEERING GEAR (W/O POWER STEERING) [1994 Miata]
30 products
Shop Now
STEERING GEAR (W/O POWER STEERING) [1995 Miata]
29 products
Shop Now
STEERING GEAR (W/O POWER STEERING) [1996 Miata]
29 products
Shop Now
STEERING GEAR (W/POWER STEERING) [1995 Miata]
59 products
Shop Now
STEERING GEAR (W/POWER STEERING) [1996 Miata]
59 products
Shop Now
Steering Linkage
0 products
Shop Now
1
…
220
221
222
223
224
…
263
Show More
Choosing a selection results in a full page refresh.
Shop the look
Close
Choose options
Close
Join the Garage 56 Pit Crew
Get 10% off your first order + exclusive access to savings events.
Your email
Submit
Facebook
Instagram
No, thanks
Close
Edit option
Close
Back In Stock Notification
Leave your email and we will notify as soon as the product/variant is back in stock
Subscribe
this is just a warning
Login
Close
Email Address
*
Password
*
Forgot your password?
Create account
Close
Shopping cart
0
items
Close
Search
Search
Trending Now
NA Miata
NB Miata
NC MX-5
ND MX-5
Trending Now
NA Miata
NB Miata
NC MX-5
ND MX-5
Close